联系人:郑经理
邮箱:1140431998@QQ.com
电话:19112689108
地址: 重庆九龙坡区九龙坡区蟠龙大道68号B区129号
消声止回阀
【产品用途】
消声止回阀是指依靠介质本身流动而自动开、闭阀瓣,用来防止介质倒流的阀门,又称逆止阀、单向阀、消声止回阀逆流阀、和背压阀。止回阀属于一种自动阀门,其主要作用是防止介质倒流、防止泵及驱动电动机反转,以及容器介质的泄放。止回阀还可用于给其中的压力可能升至超过系统压的辅助系统提供补给的管路上。止回阀主要可分为旋启式止回阀(依重心旋转)与升降式止回阀(沿轴线移动)。
【阀门介绍】
静音式止回阀主要由阀体、阀座、导流体、阀瓣、轴承及弹簧等主要零件组成,内部水流通路采用流线型设计,水头按大小,同时于停泵时其阀瓣关闭行程很短,可达快速关闭,防止巨大水击声,形成静音效果。该阀主要适用于给排水、消防、暖通系统,可安装于水泵出水口处,以防止介质倒流及水锤对泵的损害。
【基本型号】
常见的静音止回阀基本型号有hc42x、hc42h、hc42t、hc42x-16、hc42x-16c、hc42x-16p、hc42h-16c、hc42t-16等。
【性能参数】
公称通径:DN50mm~DN500mm;
公称压力:PN1.0MPa、PN1.5MPa、PN2.5MPa;
零件材料:灰铸铁、不锈钢、铸钢、球墨铸铁等。
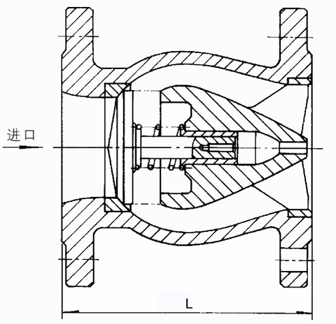
【结构示意图】

【主要外形尺寸】
| DN | L |
| 50mm | 120mm |
| 65mm | 150mm |
| 80mm | 180mm |
| 100mm | 240mm |
| 125mm | 300mm |
| 150mm | 350mm |
| 200mm | 450mm |
| 250mm | 500mm |
| 300mm | 550mm |
| 350mm | 575mm |
| 400mm | 600mm |
| 450mm | 650mm |
| 500mm | 700mm |


细节展示·DETAIL DISPLAY
该阀是用清水或压缩空气推动液压装置中活塞带动轴、阀板作升降运动,缸体内衬不锈钢套,活塞密封件为上下二个丫型密 封圈其摩擦系数大大降低,密封性能优异,使用性能和寿命优于传统L型牛皮碗和0型圈。


定制说明重庆大才阀门制造有限公司订货说明:
1.产品:如有指定型号标准,请直播销售热线咨询价格,了解详情!
2.技术支持:如没有指定产品型号规格,请把工况要求、设计图纸、技术规范,发送传真或邮件至本公司。
3.产品订货如需参数:通径(DN),公称压力(Mpa),温度(℃),连接方式(螺纹、法兰、对夹等)。
4.产品驱动方式:手动、蜗轮、气动、电动等。
5.产品标准:国标GB、日标JIS、美标ANSI、德标DIN等。
6.报价确认:本公司提供报价清单及技术标准说明至客户确认,在双方技术各方面确认后再拟定合同。
7.质量要求、质量标准、供方对质量负责的条件:按有关质量标准。
产品承诺:
1、产品从供货之日起,在正常使用情况下,质保期为12-24个月,在质保期内,一律实行:保质、保量、包修、包换等。同时还提供终身免费质询服务。
2、用户在运输、装卸、储存、擅自拆卸产品或养护不当、自然灾害等原因造成产品损坏、使用不当或在保修期外,本公司对产品实行终身技术服务,只收取配件的成本费。